导 读
和义广业【行业分析】之生物人工肝,将针对肝衰竭的不同治疗手段,包括目前常用的非生物型人工肝和肝移植,以及未来具有治疗前景的生物型人工肝进行介绍。本篇带大家了解肝衰竭的手段之一——非生物型人工肝(物理人工肝)的技术路线都有哪些,目前国内外习惯用的手段是什么,以及NMPA获批的相关产品厂商。
本篇共 4394 字,阅读时间预计 3-4 分钟
由于肝衰竭时产生的毒素种类较多,既有水溶性的中、小分子毒素,也有脂溶性的蛋白结合毒素,针对所清除的毒素不同,所需要的技术也不相同,现就国内外主要的技术进行梳理总结。
通过开发人工解毒装置替代部分衰竭的肝脏,这些设备是基于过滤和吸附来清除患者体内的毒素,装置最初使用简单的吸附材料如活性炭来清除水溶性毒素,而胆红素、胆汁酸、芳香族氨基酸和脂肪酸这类与血浆白蛋白结合的亲脂性有毒物质通过体外循环系统中的白蛋白受体来去除,并调节内环境稳态(如图所示)。

图 双重血浆分子吸附系统(DPMAS)
根据肝衰竭时产生的毒素不同,清除毒素所需要的技术也不相同,主要包括血浆置换 (plasma exchange,PE)、胆红素吸附(bilirubin adsorption,BA)、连续血液净化(continuous blood purification,CBP)、血浆透析滤过(plasma diafiltration,PDF)、反复通过白蛋白透析、分子吸附再循环系统(molecular adsorbent recirculating system,MARS)、Prometheus 系统等。
(1)PE/血浆置换技术(需要外源性血浆)
采用血浆分离器将患者的血浆从全血中分离并丢弃,同时补充新鲜冰冻血浆,从而清除体内的部分毒性物质,并补充机体所需物质如白蛋白、凝血因子等,暂时部分替代肝细胞的解毒功能,阻断毒素-肝功能障碍之间的恶性循环,改善肝病患者临床症状,给肝脏的再生与肝功能恢复提供良好的内环境条件。
有膜式PE和离心式PE,膜式将引出体外的全血分离出部分血浆弃去,保留不能透过膜孔的血细胞和血小板,再以等量置换液与血细胞混合后输回体内;离心式用离心机将全血在一定转速下进行离心,使血浆和血细胞分离,弃去部分血浆,再以等量置换液与血细胞混合后输回体内
(2)PDF/血浆透析滤过—目前常用的方法之一(需要外源性血浆)
利用血液透析滤过的原理,使用蛋白筛选系数介于血浆分离器与血液滤过器之间的血浆成分分离器,同时完成血浆滤过与透析治疗。临床上可根据不同需求选用具有不同蛋白筛选系数的血浆成分分离器,其膜孔径可允许水溶性的中小分子溶质、部分蛋白结合毒素通过,而分子量更大的球蛋白、纤维蛋白原及绝大部分凝血因子无法通过。该模式治疗过程中将部分含蛋白结合毒素的血浆滤出膜外丢弃,再通过弥散、对流不同程度地清除水溶性毒素,同时将置换液( 新鲜冰冻血浆、白蛋白溶液等) 补充入体内。
(3)BA/胆红素吸附技术或双重血浆分子吸附技术(不需要外源性血浆)
采用阴离子树脂特异性地吸附胆红素、胆汁酸,专用于高胆红素血症的治疗。此外其还会吸附凝血因子和白蛋白,引起凝血酶原时间延长和白蛋白水平下降,故对凝血功能低下的患者应联合或改用 PE 治疗。中性树脂除可吸附除可吸附上述物质外还可吸附内毒素、细胞因子等炎性介质。与阴离子树脂联合使用可吸附更多的致病因子。
(4)HP血液灌流/ PP血浆灌流—HP目前已不推荐在肝衰竭中治疗[1](不需要外源性血浆)
原理:将患者血液从体内引到体外循环系统,通过灌流器中吸附剂(活性炭、树脂等材料)与体内待清除的代谢产物、毒素、药物等吸附结合,清除这些物质。
HP是患者的全血直接流经灌流器,而PP是先将血浆从全血中分离出来后再经过灌流器,对血浆中的各种毒素进行吸附后,血浆再与血液有形成分汇合返回体内。
(5)CBP/连续血液净化:
包括连续血液滤过、连续血液透析和连续血液透析滤过。
利用半透膜中即溶质从高浓度向低浓度区域运动的原理高效清除小分子物质(透析)和中分子和大分子物质(滤过),同时调节水、电解质酸碱平衡,此外其容量可精确控制,可以通过缓慢稳定的容量调控来降低颅内压, 改善肝性脑病症状,但是不能补充血浆成分,对大分子毒素、蛋白结合毒素等清除效率低。
当患者胆红素水平显著升高,或面临多个问题,如高胆红素血症、肾功能不全、水/电解质/酸碱失衡,或血浆来源不足时,建议采取组合模式。
(3) 当患者存在肾功能不全、电解质/酸碱失衡时,建议组合模式包含血液滤过透析HDF 或血浆透析滤过PDF。
(1)SPAD/RPAD单次/重复通过白蛋白透析:
单次白蛋白透析:利用常规透析设备,将白蛋白加入到透析液中,其通过共价键的竞争清除血液内的蛋白结合毒素,由于白蛋白没有循环再生过程,因此称为“单通道”。但 SPAD 需要大量人血白蛋白(24 h需要480 g),价格十分昂贵,单次通过时由于膜内外弥散时间短暂,透析液中白蛋白结合位点远远未被毒素饱和,将其作为废液丢弃很不经济。
多次白蛋白透析:将透析液在膜外的透析回路中反复循环,充分利用白蛋白的吸附效能,持续治疗 8~12 h,直至透析液中白蛋白结合位点饱和为止。
(2)MARS/分子吸附再循环系统:
分子吸附在循环系统由三部分组成,包括:
(3) 白蛋白循环: 白蛋白透析液依次通过活性炭吸附柱和阴离子交换树脂吸附柱,在此处与白蛋白结合的毒素解离并释放出白蛋白,毒素被吸附而白蛋白得以再生和循环使用。
(3)Prometheus 系统:
是一种部分血浆分离技术,过程是患者血液先通过特殊的血浆成分分离器,其中白蛋白等物质被滤出后先后进入中性树脂和阴离子树脂吸附装器,从而使结合性毒素被清除,而后通过高通量血液透析器清除水溶性毒素,游离的白蛋白重新回到患者体内,治疗过程中不需要补充外源性白蛋白。
体外白蛋白透析(extracorporeal albumin dialysis,ECAD)是目前世界范围内使用的主要人工肝支持治疗技术,与透析机相连的白蛋白透析装置能够极大地去除在肝衰竭中增加的水溶性和白蛋白结合分子、药物和毒素(ABT)。在目前可用的三种人工肝支持装置中,分子吸附剂再循环系统(MARS™,美国),分级血浆分离和吸附系统Prometheus™(德国)和单程白蛋白透析,MARS™ 是全球研究和使用最多的系统。
技术原理:使用MARS™ 设备的 ECAD 是一种类似血液透析的技术,有助于半选择性地去除ABT,比血浆置换具有更高的选择性。作用机制包括 ABT 从白蛋白上脱离、间歇性与透析膜结合、ABT 向透析膜的透析液位点定向表面扩散、脱离以及与透析液白蛋白结合。驱动力是血液和透析液空间之间 ABT 的跨膜浓度梯度。为了保持这种梯度,透析器透析液空间中的透析液白蛋白不断被新鲜白蛋白所取代。MARS™ 使用三个不同的流体隔室,即血液回路、白蛋白回路和常规透析液回路(图),可间歇进行(通常每天 6-8 小时)或连续进行,透析液白蛋白以 150 毫升/分钟的速度泵送,通过对碳酸氢盐缓冲的透析液进行透析,然后依次通过木炭和阴离子交换柱(如图所示)。

图 分子吸附剂再循环系统图示
目前我国应用较多的为李氏非生物型人工肝系统及其组合式人工肝模式,而MARS、Prometheus系统、SPAD等则在国外应用较多。目前各国对非生物型人工肝的疗效仍有较大争议,在临床试验之外,NBAL欧洲肝脏研究协会和美国肝病研究协会不推荐使用。而我国指南则认为非生物型人工肝是治疗肝衰竭的有效方法之一,下表为不同非生物型人工肝技术路线的比较。

表 不同非生物型人工肝治疗优劣势比较
胆红素吸附柱:用于吸附血浆中的胆红素和胆汁酸(如图所示)(只有国产有注册产品,国外不采用胆红素吸附方案)。

图 一次性使用胆红素吸附器(健帆生物)
国内目前只有佛山市博新生物科技有限公司和健帆生物科技集团股份有限公司有获批产品(如表所示)。

表 国内获批的胆红素吸附柱
一次性使用血液灌流器:与血液净化装置配合进行血液灌流治疗,利用合成树脂的吸附作用,通过体外循环血液灌流的方法来清除人体内源性和外源性代谢产物、毒物及余量药物(如图所示)。

图 一次性使用血液灌流器(健帆生物)
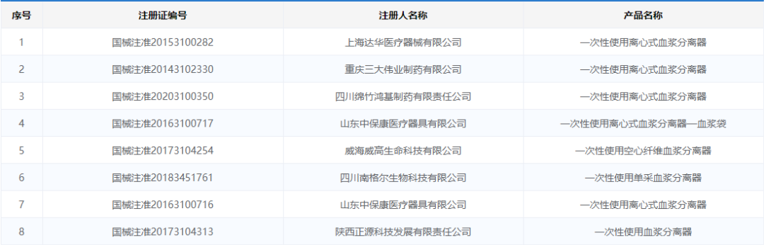
经NMPA检索发现国内外有多家取得血液灌流器注册证,但其应用场景不局限于肝治疗,如上海达华医疗器械的一次性使用离心式血浆分离器不能用于临床输血、威海威高生命科技有限公司的一次性使用空心纤维血浆分离器主要适用于一些自身免疫性疾病如系统性红斑狼疮(SLE)、自身抗体介导疾病、血栓性血小板减少性紫癜(TTP)、溶血性尿毒症综合征(HUS)等。具体如下表所示。

表 境内医疗器械注册

表 进口医疗器械注册
血液净化设备&血液净化装置:适用于临床血液净化治疗,可连续进行血液滤过和超滤(如图所示)。

图 血液净化设备(健帆生物)
经NMPA检索发现国内外有多家取证,其中国内有4家,如下表所示。


表 境内医疗器械注册


表 进口医疗器械注册
体外循环血路由动脉管路、静脉管路和选用配置(一次性使用废液袋、一次性使用输液器)组成,可用于临床血液透析时建立临时的血液通路(如图所示)。

图 体外循环血路(威海威高)

表 境内医疗器械注册

表 进口医疗器械注册
排版:大大怪
医疗器械、新材料、人工智能;
一定技术壁垒